ここでの実験は,班でひとつの実験を行うのではなく,ひとりひとりが個別にライントレー
スカーを製作する.そのため,各人毎に部品を配布する.他の人の部品を流用してはなら
ない.もし,部品の不足があるならば担当の教員に申し出ること.
表2に,ひとり当たり必要な実験器材を示す.
これらの機材を用いると,基本モデル(低速)あるいは高速モデルのライントレースカーの
作成ができる.
プログラムの作成はクロスコンパイラーで行う.Linuxがインストールされているパソコ
ンでプログラム作成からコンパイルまで行い,バイナリーデータをH8マイコンに転送する.
電気棟3Fの電気情報工学実験室に設置しているパソコンには,プログラム開発に必要な環境
をインストールしている.
表 2:
実験器材.基本モデルと高速モデルに対応できるように,機材を準備している.
| 装置 |
メーカー |
型番/仕様 |
数量 |
| パソコン |
|
|
1 |
| H8マイコンボード |
秋月電子通商 |
AKI-H8/3664N |
1 |
| ブレッドボード |
サンハヤト |
SAD-01 |
1 |
| ニッケル水素電池 |
|
単三型1.2[
]2300[
] |
4(内予備2個) |
| 9V電池(006P) |
|
9[
] |
1 |
| 赤色LED |
|
|
4 |
| トランジスター |
東芝 |
2SC1815 |
4 |
| ダイオード |
|
|
2 |
| レンズ付き反射型フォトリフレクタ |
SHARP |
GP2S05 |
5 |
| インバーター(NOT回路) |
|
74HC04AP |
1 |
| 抵抗 |
|
15 [k ] |
5 |
| |
|
5.1 [k ] |
2 |
| |
|
3.3 [k ] |
4 |
| |
|
10 [ ] |
1 |
| タクトスイッチ |
|
|
1 |
| ジャンパーピン |
|
|
3 |
| D-SUBコネクター |
|
|
1 |
| ブレッドボード配線材 |
|
|
1式 |
| キャスター |
ハンマーキャスター |
420G-N |
1 |
| トラックタイアセット |
タミヤ |
|
1セット |
| オフロードタイアセット |
タミヤ |
楽しい工作シリーズNo.96 |
1セット |
| ツインモーターギヤボックス |
タミヤ |
楽しい工作シリーズNo.97 |
2 |
| ユニバーサルプレート(2枚セット) |
タミヤ |
楽しい工作シリーズNo.157 |
1 |
M2.6 10 十字穴付なべ小ねじ |
|
|
2 |
| M2.6 ナット |
|
|
2 |
| M2.6 ワッシャ |
|
|
4 |
M3 30 十字穴付なべ小ねじ |
|
|
4 |
M3 40 十字穴付なべ小ねじ |
|
|
1 |
| M3 ナット |
|
|
15 |
| M3 ワッシャ |
|
|
14 |
実験をはじめる前に以下の注意を読み,正しく機器を使うこと.ここでは,誤った使い方
をして,破壊しやすいあるいは危険なものとして,半導体と電池,ブレッドボートについ
て注意を行う.
半導体部品は定格を超えた使い方をすると,即座に壊れる.コイルやコンデンサー,抵抗
などのパッシブな部品と比較して,その定格の電流や電圧が低いのが普通である.そのた
め,半導体部品は丁寧に取り扱わなくてはならない.以下,注意事項を列挙する.
- 指定以上の電圧を加えないこと.高い電圧を加えると,半導体は簡単に壊れる.
- LEDやトランジスター,H8マイコンの出力端子には電流制限抵抗を付けて,グラン
ドと接続している.直接電圧を印加すると最大定格以上の電流がながれ,半導体
が破壊される.回路図のとおり,抵抗を接続すること.
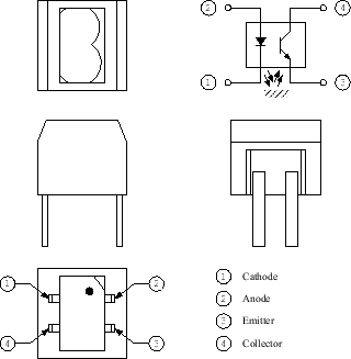
- LEDやダイオード,トランジスターには極性があり,正しく接続する必要がある.
図2や図3,図4に,それぞれの
極性を表す.
- インバーターの電極を図5に示す.ひとつのパッケージに同一
の6個の論理素子が組み込まれている.これも極性を間違えないで接続すること.
- 赤外線センサーの回路の保護のための電流制限抵抗を正しく取り付けること.
図 4:
ダイオードの記号と外観.
図 5:
インバーター74HC04APの電極.
|
|
|
|
電池は取り扱いを誤ると,非常に危険である.短絡(ショート)させてしまうと,とても高
温になる.なぜならば,一般に電池の内部インピーダンスは低く,多くの電流を流すこと
ができるからである.
細心の注意を払い実験を行わなくてはならない.電池を絶対にショートさせるな!
- ライントレースカーの回路の短絡が無いことを確認した後,電池を取り付けろ!
- 次週の実験まで,ライントレースカーに電池をつけた状態にするな!
- 電池を片づけるときは,絶対にショートしないように収納しろ!
前期の実験と同じように,図7に示すブレッドボード上に回路
を作成する.ブレッドボードだと,回路の変更が容易である.半田付けを行った場合,回
路の変更が大変であることは容易に想像がつく.そのようなことから,頻繁に回路の変更
があるような場合には,ブレッドボード上に実験的に回路を作成することがよく行われる.
ブレッドボードを見て分かるように,たくさんの小さな穴が開いている.穴の間隔は1/10
インチとなっており,それはIC(Integrated Circuit)の電極の間隔に等しい.この穴にICを
差し込んで,回路を作成する.ICに限らず,抵抗やスイッチ,トランジスター等の半導体
部品も差し込むことができる.差し込んだ部品は配線材(ジャンパー線)を使い電気的に接
続することで電気回路になる.
ブレッドボードを使うためには,内部の配線を理解しなくてはならない.図
7 に,ここで使うブレッドボードの内部配線をしめす.数個
の穴が内部で,電気的に接続されている.この接続を理解して,ブレッドボードを上手に
使おう.
電子部品と専用の配線材(ジャンパー線)をブレッドボードに差し込むことにより,電気回路を作成する.そ
の配線材を使うとき,以下を厳守すること.
- 配線材の先端を曲げてはならない.先端を曲げるとすぐに折れてしまう.
- ブレッドボードに差し込むとき,先端をまっすぐにして,真上から差し込むこと.
もし,線の先端が曲がっていたならば,まっすぐに直してから,差し込むこと.
曲がった配線をブレッドボードに差し込むと,抜けなくなる.あるいは,内部で
配線材が切れて,ショートすることがある.
- ブレッドボードの赤いラインに沿った穴は,電源ラインにする.
- ブレッドボードの赤いラインに沿った穴は,グランドラインにする.グランドラ
インは全ての回路で同電位とすること.すなわち,グランドラインは全てジャン
パー線で接続されなくてはならない.
ホームページ: Yamamoto's laboratory
著者: 山本昌志
Yamamoto Masashi
平成19年12月27日